






??ADC芯片全稱為模擬數字轉換器,是一個將模擬信號轉換成為數字信號的轉換器芯片。ADC芯片主要看兩個基本指標—速度和精度,速度代表的是ADC可以轉換多大帶寬的模擬信號,帶寬對應的就是模擬信號頻譜中的較大頻率。而精度代表的是衡量轉換出來的數字信號與原來的模擬信號之前的差距。
??在ADC芯片的發展歷史中,其基本架構、設計和生產技術已經趨近于成熟,但在龐大的應用領域中,如此復雜而成熟的芯片有時也會成為機器性能的瓶頸。雖然在芯片領域之外的人較少關注,但ADC芯片技術含量較高,用途廣泛,從模擬信號轉化為數字信號的轉換過程處理要經過采樣,保持,量化,編程四個階段,根據不同的處理方式,它也可以分為多種結構和不同的應用場景。比如像自動測試設備、精度測量、有線/無線通信基站等行業應用。
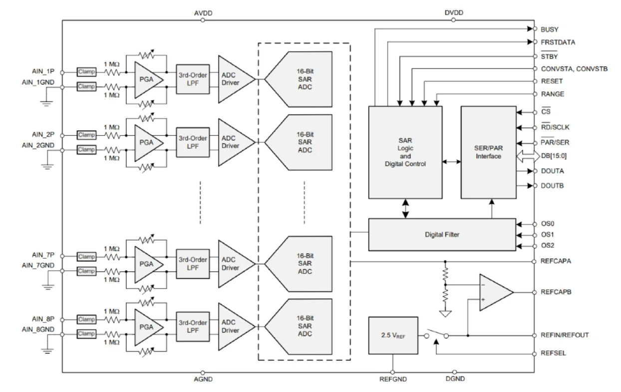
??目前國內ADC芯片有許多做的很好的企業,其中西安航天民芯的ADC芯片就是行業的佼佼者。其中MT7606是一款八通道同步采樣,16位精度,200KSPS轉換速率的逐次逼近型模數轉換器芯片。在供電設備、伺服控制系統、自動測試設備、數據采集和醫療儀器,尤其電池化成分容檢測自動設備等領域應用非常廣泛。
??MT7606可以配置對±5V、±10V范圍的輸入信號進行量化,并且可以選擇并行或者串行接口進行通訊。MT7606與國外產品AD7606,ADS8588管腳兼容,可實現PIN對PIN替代,芯片的功能結構框圖如下圖所示:
??MT7606的主要特征:
??轉換位數:16Bit
??吞吐速率:200 KSPS
??低功耗:250mW
??INL:±3.5LSB(典型值)
??SNDR:90dB@1kHz 輸入
??THD:-100dB@10kHz 輸入
??信號輸入范圍:±5V、±10V
??無流水線延遲
??串行接口:SPI 兼容
??封裝:QFP64
??MT7606的產品亮點
??支持8 通道同步采樣
??低壓供電量化高壓信號
??兼容串行/并行接口
??片內數字濾波器提高精度
|
型號 |
精度 |
轉換速率 |
數據端口 |
功耗 |
SNDR |
THD |
封裝形式 |
|
ADS8588(TI) |
16位 |
200KSPS |
串行/并行端口 |
250mW |
90dB@1kHz |
-100dB@1kHz |
QFP-64 |
|
AD7606(ADI) |
16位 |
200KSPS |
串行/并行端口 |
250mW |
90 dB@1kHz |
-100dB@1kHz |
QFP-64 |
|
MT7606 |
16位 |
200KSPS |
串行/并行端口 |
250mW |
90 dB@1kHz |
-100dB@1kHz |
QFP-64 |
MT7606的與國外同類產品對比
